Tor Magne har fått patent: – Fagpersoner hadde nok dratt på smilebåndet
3.5.2024 07:00:00 CEST | Patentstyret | Pressemelding
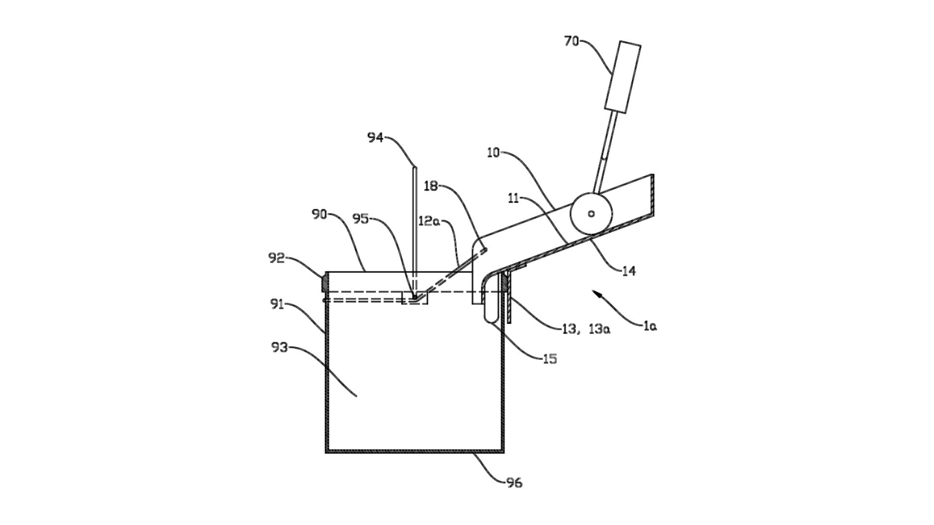
Tor Magne Nilsen fra Kvinesdal i Agder fikk nylig patent på en oppfinnelse som skal redusere malingssøl.

Nilsens malingsinnretning er et godt eksempel på at det enkle ofte er det beste. Oppfinnelsen kombinerer spannet med et avtagbart brett, og fjerner derfor selve handlingen som er å helle malingen.
– Når jeg oppdager at noe kan gjøres enklere, så har jeg lyst til å se om jeg får gjort noe med det, forteller oppfinneren.
Lagde produktet i garasjen
Ideen fikk han etter å ha irritert seg over hvor upraktisk det kan være å helle maling fra en beholder over i en annen, og hvor vanskelig det kan være å helle ubrukt maling tilbake i spannet igjen.
– Jeg har forsøkt å koble sammen flere typer malingsspann og malebrett. Fagpersoner hadde nok dratt på smilebandet om de hadde sett noen av de modellene jeg hadde underveis, humrer Nilsen.
Produktutviklingen har i hovedsak foregått hjemme i garasjen, og testingen har blant annet vært beising av egen terrasse, og maling av egne husvegger. Nå blir det spennende å følge veien videre for oppfinneren fra Kvinesdal i Agder.

– Jeg har vært i kontakt med et par aktører som ikke ville fortsette samtalene før jeg hadde noe mer håndfast, som for eksempel et patent, sier han.
Patenter beskytter konkrete løsninger på et teknisk problem, og må skille seg vesentlig fra det som allerede finnes.
– Helt avgjørende
Ved å sikre seg patent beskytter han ikke bare seg selv og sin egen oppfinnelse, men også muligheten til økonomisk anerkjennelse for arbeidet han har lagt inn.
– Tor Magnes oppfinnelse er et fantastisk eksempel på hvordan enkeltpersoner kan skape verdifulle bidrag til samfunnet og løse spesifikke utfordringer - gjennom innovasjon og kreativitet, sier direktør for patentavdelingen i Patentstyret, Bjørn Lillekjendlie, og legger til:
– Dette bidrar til mangfoldet og dynamikken i innovasjonsøkosystemet. I en stadig mer konkurransedrevet verden er dette helt avgjørende.
IP (patenter, varemerker og designregistreringer) gir ikke bare en rettslig beskyttelse av ideer og produkter, men de legger også til rette for å sikre eksklusiv rettighet til å utnytte og kommersialisere oppfinnelser. Dette er særlig viktig for små og mellomstore bedrifter som ønsker å oppnå konkurransefortrinn og øke sin markedsverdi.
Kontakter
Vilde Brandtzæg ClausenPressekontaktKommunikasjon og kunnskap
Tel:92823898vbc@patentstyret.noBilder








Følg pressemeldinger fra Patentstyret
Registrer deg med din e-postadresse under for å få de nyeste sakene fra Patentstyret på e-post fortløpende. Du kan melde deg av når som helst.
Siste pressemeldinger fra Patentstyret
Lybe Scientific til finalen i nordisk innovasjonspris28.4.2026 12:58:03 CEST | Pressemelding
Bioteknologiselskapet fra Trondheim skal representere Norge når Nordic Innovation Award 2026 deles ut i Oslo i mai.
Norge har lavest andel kvinnelige oppfinnere i Norden6.3.2026 07:03:00 CET | Pressemelding
Andelen norske kvinner som søker internasjonale patenter ligger på 9,6 %. Det er bak våre nordiske naboer.
Økning i norske patentsøknader25.2.2026 06:59:00 CET | Pressemelding
Patentstyret opplevde kraftig vekst i patentsøknader fra norske søkere i 2025. Dette skyldes mest sannsynlig søknader skrevet ved hjelp av KI-verktøy.
Hunden fikk ikke puste skikkelig – nå har Anne fått patent på ny løsning17.12.2025 07:30:00 CET | Pressemelding
Som mange hundeeiere opplevde Anne Sørensen fra Troms hundeseler som gnagde, satt dårlig eller gjorde det vanskelig for hunden å puste. For å løse problemene utviklet hun en ny sele, og har nå fått to patenter.
Fra garasje til operasjonssal: nytt patent kan endre hjertekirurgi8.10.2025 07:30:00 CEST | Pressemelding
Viking Arm er kjent for de håndholdte jekkene sine. Nå har datterselskapet overført idéen til helsesektoren, og fått patent på et produkt som skal gjøre hjerteoperasjoner tryggere og mer effektive.
I vårt presserom finner du alle våre siste pressemeldinger, kontaktpersoner, bilder, dokumenter og annen relevant informasjon om oss.
Besøk vårt presserom